AC/DC Power Supplies
PRBX DBA1200 Series AC/DC Power Supply
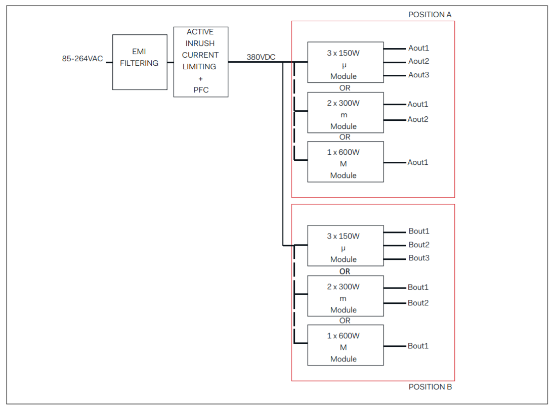
The PRBX DBA1200 Series AC/DC Power Supply is a powerful and versatile solution for industrial, defense, and railway applications. Delivering up to 1200W of power, it ensures efficient and reliable performance in demanding environments.
Read MoreFeatures
- 85-264VAC or 120-350VDC input voltage ranges
- 1-6 isolated outputs up to 1200W
- 255 x 127 x 40mm very low profile
- Power Factor Correction EN61000-3-2
- Active very low inrush limitation
- Surge and transient protection
Specifications
Technical Illustrations
Downloads
INPUT | |
---|---|
Operating input voltage | 85-264VAC. 120-350VDC. |
Frequency | 44Hz min, 50Hz typ, 440Hz max. |
Power factor | 0.96 typ, 230VAC, 50Hz, Pnom |
Input current | 16A at Vin min. |
No-load input power | 15W at Vin typ. |
Peak inrush current | 4A Vin max. |
Start-up time | 3s typ. |
Input fuse | A fuse mounted inside the psu protects against damages in case of a failure. |
Fuse type | Littlefuse, 15A, 0218015.MXP |
Transient protection | Yes. |
OUTPUT | |
---|---|
Output Voltage | See Selection Table |
Parallel operation | Possible. |
Redundant operation | Requires external oring diodes. |
Hold-up time | Yes. |
Output current limitation | All outputs are protected against short circuit, automatic recovery. |
Thermal considerations | Baseplate should not exceed 100°C. |
Thermal protection | OTP protection, automatic restart. |
Overvoltage protection | Incorporated on each output. |
Remote on/off | An isolated INHIB signal disable corresponding output voltage when connected to RTN. |
Overvoltage adjustment | 90-110%Vnom. |
Remote sense | V1, V2, total drop <0.5V, positive line drop <0.25V. |
Auxiliary bias voltage | Limited to 200mA. |
Paralleling signal | Parallel only identical outputs (voltage and power). |
ENVIRONMENTAL | |
---|---|
Operating temperature | -20°C to +71°C, see derating (T-option -40°C). |
Heatsink temperature | -20°C to +71°C, see derating (T-option -40°C). |
Storage temperature | -40°C to +125°C. |
Damp heat | MIL STD 810 Proc. 507-2. |
Shock | MIL STD 810 Proc. 516.3 |
Vibrations | MIL STD 810 Proc. 514-5. |
MTBF | MTBF calculation for a specific part number has to be ordered |
GENERAL | |
---|---|
Electric strength | Input to earth 1500Vrms Input to output 3000Vrms Output to earth 500Vrms |
Insulation resistance | >100Mohms. |
Dimensions | 255 x 127 x 40mm |
Case | Aluminum natural. |
Weight | 1500g without heatsink. |
OPTIONS | |
---|---|
MIL-STD ruggedized (-M) | Meet MIL-STD 461E CE102, MIL-STD 1399- 300A, MIL-STD810E shock & vibrations. No laboratory certification. |
-40°C operation (-T) | The thermal grade of the DC/DC converters used and other components are changed to comply with low ambient temperature. |
Conformal coating (-V) | During manufacturing process , when V option is specified, components and pcb are covered with an acrylic coating to address high level of ambiant humidity application. |
Heatsink (-H, -H1) | -H: a 15 mm heatsink is mounted on the baseplate with longitudinal fins. -H1: a 15 mm heatsink is mounted on the baseplate with transversal fins. |
STANDARDS | |
---|---|
Safety standards | Built to meet IEC60950-1, EN60950-1. |
Surges | Built to meet EN61000-4-5, 1kV, Criteria B. 2kV, Critiera A. |
Electrostatic discharge | Built to meet EN61000-4-2, 8000V, Critiera B. |
Fast transients/burst | Built to meet EN61000-4-4, 4000V, Critiera B. |
Harmonics | Built to meet EN61000-3-2. |
Flickers | Meets EN61000-3-3. EN61000-4-3, -6, -11. |








INPUT | |
---|---|
Operating input voltage | 85-264VAC. 120-350VDC. |
Frequency | 44Hz min, 50Hz typ, 440Hz max. |
Power factor | 0.96 typ, 230VAC, 50Hz, Pnom |
Input current | 16A at Vin min. |
No-load input power | 15W at Vin typ. |
Peak inrush current | 4A Vin max. |
Start-up time | 3s typ. |
Input fuse | A fuse mounted inside the psu protects against damages in case of a failure. |
Fuse type | Littlefuse, 15A, 0218015.MXP |
Transient protection | Yes. |
OUTPUT | |
---|---|
Output Voltage | See Selection Table |
Parallel operation | Possible. |
Redundant operation | Requires external oring diodes. |
Hold-up time | Yes. |
Output current limitation | All outputs are protected against short circuit, automatic recovery. |
Thermal considerations | Baseplate should not exceed 100°C. |
Thermal protection | OTP protection, automatic restart. |
Overvoltage protection | Incorporated on each output. |
Remote on/off | An isolated INHIB signal disable corresponding output voltage when connected to RTN. |
Overvoltage adjustment | 90-110%Vnom. |
Remote sense | V1, V2, total drop <0.5V, positive line drop <0.25V. |
Auxiliary bias voltage | Limited to 200mA. |
Paralleling signal | Parallel only identical outputs (voltage and power). |
ENVIRONMENTAL | |
---|---|
Operating temperature | -20°C to +71°C, see derating (T-option -40°C). |
Heatsink temperature | -20°C to +71°C, see derating (T-option -40°C). |
Storage temperature | -40°C to +125°C. |
Damp heat | MIL STD 810 Proc. 507-2. |
Shock | MIL STD 810 Proc. 516.3 |
Vibrations | MIL STD 810 Proc. 514-5. |
MTBF | MTBF calculation for a specific part number has to be ordered |
GENERAL | |
---|---|
Electric strength | Input to earth 1500Vrms Input to output 3000Vrms Output to earth 500Vrms |
Insulation resistance | >100Mohms. |
Dimensions | 255 x 127 x 40mm |
Case | Aluminum natural. |
Weight | 1500g without heatsink. |
OPTIONS | |
---|---|
MIL-STD ruggedized (-M) | Meet MIL-STD 461E CE102, MIL-STD 1399- 300A, MIL-STD810E shock & vibrations. No laboratory certification. |
-40°C operation (-T) | The thermal grade of the DC/DC converters used and other components are changed to comply with low ambient temperature. |
Conformal coating (-V) | During manufacturing process , when V option is specified, components and pcb are covered with an acrylic coating to address high level of ambiant humidity application. |
Heatsink (-H, -H1) | -H: a 15 mm heatsink is mounted on the baseplate with longitudinal fins. -H1: a 15 mm heatsink is mounted on the baseplate with transversal fins. |
STANDARDS | |
---|---|
Safety standards | Built to meet IEC60950-1, EN60950-1. |
Surges | Built to meet EN61000-4-5, 1kV, Criteria B. 2kV, Critiera A. |
Electrostatic discharge | Built to meet EN61000-4-2, 8000V, Critiera B. |
Fast transients/burst | Built to meet EN61000-4-4, 4000V, Critiera B. |
Harmonics | Built to meet EN61000-3-2. |
Flickers | Meets EN61000-3-3. EN61000-4-3, -6, -11. |








Find the Right Model
Model Number | Input Voltage (Vac) | Output Voltage (Vdc) | Output Current (A) | ||
---|---|---|---|---|---|
![]() |
DBA-2M | 110/230Vac | Output 1: 24 (3 to 51.8)Vdc | Output 1: 160A | |
![]() |
DBA-M-M | 110/230Vac | Output 1: 24 (3 to 51.8)Vdc Ouput 2: 24 (3 to 51.8)Vdc | Output 1: 80A Output 2: 80A | |
![]() |
DBA-M | 110/230Vac | Output 1: 24 (3 to 51.8)Vdc | Output 1: 80A | |
![]() |
DBA-M-nn | 110/230Vac | Output 1: 24 (3 to 51.8)Vdc Output 2: 24 (3 to 51.8)Vdc Output 3: 24 (3 to 51.8)Vdc | Output 1: 80A Output 2: 45A Output 3: 45A | |
![]() |
DBA-M-n | 110/230Vac | Output 1: 24 (3 to 51.8)Vdc Output 2: 24 (3 to 51.8)Vdc | Output 1: 80A Output 2: 45A | |
![]() |
DBA-M-µµµ | 110/230Vac | Output 1: 24 (3 to 51.8)Vdc Output 2: 24 (3 to 51.8)Vdc Output 3: 24 (3 to 51.8)Vdc Output 4: 24 (3 to 51.8)Vdc | Output 1: 80A Output 2: 22.7A Output 3: 22.7A Output 4: 22.7A | |
![]() |
DBA-M-µµ | 110/230Vac | Output 1: 24 (3 to 51.8)Vdc Output 2: 24 (3 to 51.8)Vdc Output 3: 24 (3 to 51.8)Vdc | Output 1: 80A Output 2: 22.7A Output 3: 22.7A | |
![]() |
DBA-M-µ | 110/230Vac | Output 1: 24 (3 to 51.8)Vdc Output 2: 24 (3 to 51.8)Vdc | Output 1: 80A Output 2: 22.7A | |
![]() |
DBA-nn-nn | 110/230Vac | Output 1: 24 (3 to 51.8)Vdc Output 2: 24 (3 to 51.8)Vdc Output 3: 24 (3 to 51.8)Vdc Output 4: 24 (3 to 51.8)Vdc | Output 1: 45A Output 2: 45A Output 3: 45A Output 4: 45A | |
![]() |
DBA-nn-n | 110/230Vac | Output 1: 24 (3 to 51.8)Vdc Output 2: 24 (3 to 51.8)Vdc Output 3: 24 (3 to 51.8)Vdc | Output 1: 45A Output 2: 45A Output 3: 45A | |
![]() |
DBA-nn | 110/230Vac | Output 1: 24 (3 to 51.8)Vdc Output 2: 24 (3 to 51.8)Vdc | Output 1: 45A Output 2: 45A | |
![]() |
DBA-n | 110/230Vac | Output 1: 24 (3 to 51.8)Vdc | Output 1: 45A | |
![]() |
DBA-nn-µµµ | 110/230Vac | Output 1: 24 (3 to 51.8)Vdc Output 2: 24 (3 to 51.8)Vdc Output 3: 24 (3 to 51.8)Vdc Output 4: 24 (3 to 51.8)Vdc | Output 1: 45A Output 2: 45A Output 3: 22.7A Output 4: 22.7A | |
![]() |
DBA-nn-µµ | 110/230Vac | Output 1: 24 (3 to 51.8)Vdc Output 2: 24 (3 to 51.8)Vdc Output 3: 24 (3 to 51.8)Vdc | Output 1: 45A Output 2: 45A Output 3: 22.7A | |
![]() |
DBA-nn-µ | 110/230Vac | Output 1: 24 (3 to 51.8)Vdc Output 2: 24 (3 to 51.8)Vdc | Output 1: 45A Output 2: 22.7A | |
![]() |
DBA-n-µµµ | 110/230Vac | Output 1: 24 (3 to 51.8)Vdc Output 2: 24 (3 to 51.8)Vdc Output 3: 24 (3 to 51.8)Vdc Output 4: 24 (3 to 51.8)Vdc | Output 1: 45A Output 2: 22.7A Output 3: 22.7A Output 4: 22.7A | |
![]() |
DBA-n-µµ | 110/230Vac | Output 1: 24 (3 to 51.8)Vdc Output 2: 24 (3 to 51.8)Vdc Output 3: 24 (3 to 51.8)Vdc | Output 1: 45A Output 2: 22.7A Output 3: 22.7A | |
![]() |
DBA-n-µ | 110/230Vac | Output 1: 24 (3 to 51.8)Vdc Output 2: 24 (3 to 51.8)Vdc | Output 1: 45A Output 2: 22.7A | |
![]() |
DBA-µµµ-µµµ | 110/230Vac | Output 1: 24 (3 to 51.8)Vdc Output 2: 24 (3 to 51.8)Vdc Output 3: 24 (3 to 51.8)Vdc Output 4: 24 (3 to 51.8)Vdc | Output 1: 22.7A Output 2: 22.7A Output 3: 22.7A Output 4: 22.7A | |
![]() |
DBA-µµµ-µµ | 110/230Vac | Output 1: 24 (3 to 51.8)Vdc Output 2: 24 (3 to 51.8)Vdc Output 3: 24 (3 to 51.8)Vdc Output 4: 24 (3 to 51.8)Vdc | Output 1: 22.7A Output 2: 22.7A Output 3: 22.7A Output 4: 22.7A | |
![]() |
DBA-µµµ-µ | 110/230Vac | Output 1: 24 (3 to 51.8)Vdc Output 2: 24 (3 to 51.8)Vdc Output 3: 24 (3 to 51.8)Vdc Output 4: 24 (3 to 51.8)Vdc | Output 1: 22.7A Output 2: 22.7A Output 3: 22.7A Output 4: 22.7A | |
![]() |
DBA-µµµ | 110/230Vac | Output 1: 24 (3 to 51.8)Vdc Output 2: 24 (3 to 51.8)Vdc Output 3: 24 (3 to 51.8)Vdc | Output 1: 22.7A Output 2: 22.7A Output 3: 22.7A | |
![]() |
DBA-µµ | 110/230Vac | Output 1: 24 (3 to 51.8)Vdc Output 2: 24 (3 to 51.8)Vdc | Output 1: 22.7A Output 2: 22.7A | |
![]() |
DBA-µ | 110/230Vac | Output 1: 24 (3 to 51.8)Vdc | Output 1: 22.7A |
Need help finding the right product model?
